Заменяем башмак натяжителя цепи ГРМ на звездочку в ВАЗовском двигателе. Это позволяет уменьшить трение цепи, попадание продуктов износа «башмака» в масло и снизить общий шум двигателя.
За основу идеи установить этот девайс была взята статья:
http://www.niva-faq.msk.ru/tehnika/dvigatel/cep_grm/sh_bash.htm
Основа нового башмака натяжителя для двигателей 03 и 213 изготавливается из стали 40х.:

Звездочку башмака натяжителя делаем из стандартной звездочки, протачивая место под установку подшипника:
При сборке мы использовали подшипник закрытого типа №180203
Во время установки на двигатель один из сальников можно снять, что бы подшипник постоянно смазывался маслом из двигателя, но с другой стороны заложенная в нём смазка и так рассчитана на очень долгий срок.

После запрессовки подшипника в звездочку, на всякий случай закрепили его кернением.
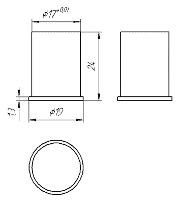
Ось подшипника звездочки:
После установки в основание, также закрепляем кернением…

Внешние отличия стандартного башмака натяжителя и шестеренчатого видны на фотографии ниже:

Идея: Юрий Иванов (г. Каменск-Уральский), чертежи Алексей Дедюхин Автор данной инсталяции: Артур Тевс (aka Fast)



Оставить ответ